Hospital bed

US 6,499,160 B2
Hospital bed
Barry D. Hand, Mt. Pleasant, S.C. (US); Dana H. Delk, North Charleston, S.C. (US); Jack J. Brooks, Folly Beach, S.C. (US); and Steven J. Doehler, Charleston, S.C. (US)
Assigned to Hill-Rom Services, Inc., Wilmington, Del. (US)
Filed on 31-Aug-2001, as Appl. No. Hill-Rom Services, Inc., Wilmington, Del. (US)
Int. Cl.7A61G 13/04
   U.S. Cl. 5-608
41 Claims   
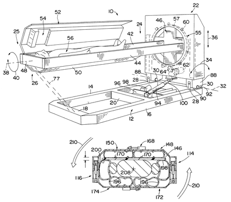
US 6,499,160 B2 Hospital bed Barry D. Hand, Mt. Pleasant, S.C. (US); Dana H. Delk, North Charleston, S.C. (US); Jack J. Brooks, Folly Beach, S.C. (US); and Steven J. Doehler, Charleston, S.C. (US) Assigned to Hill-Rom Services, Inc., Wilmington, Del. (US) Filed on Aug. 31, 2001, as Appl. No. 9/944,558. Application 09/944558 is a continuation of application No. 09/499200, filed on Feb. 07, 2000, granted, now 6282736. Application 09/499200 is a continuation of application No. PCT/US98/16497, filed on Aug. 07, 1998. Claims priority of provisional application 60/055043, filed on Aug. 08, 1997. Claims priority of provisional application 60/090212, filed on Jun. 22, 1998. Prior Publication US 2002/0026671 A1, Mar. 07, 2002 Int. Cl.7A61G 13/04 U.S. Cl. 58212;608 41 Claims 1. A patient support apparatus comprising: a base; a patient support assembly coupled to the base, the patient support assembly having a patient support surface configured to support a patient; and means for simultaneously rotating the patient support assembly about a first axis generally parallel to a longitudinal axis of the patient support assembly, and rotating the patient support assembly about a second axis generally transverse to the longitudinal axis of the patient support assembly alternately in a first direction and a second direction to provide rotational therapy to the patient about both the first and second axes.

© GreatePatent.com 2025