Bathtub

US 6,499,153 B1
Bathtub
Iader Simoni, Via Rinuccini, 28, I-50144 Firenze (Italy); and Antonio Baro, Via Alcione, 182, I-66023 Francavilla al Mare (Italy)
Assigned to Geberit Technik AG, Jona (Switzerland)
Filed on 18-Jan-2001, as Appl. No. Geberit Technik AG, Jona (Switzerland)
Int. Cl.7A47K 3/022
   U.S. Cl. 4-541.1
16 Claims   
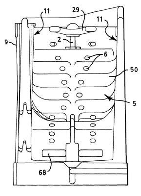
US 6,499,153 B1 Bathtub Iader Simoni, Via Rinuccini, 28, I-50144 Firenze (Italy); and Antonio Baro, Via Alcione, 182, I-66023 Francavilla al Mare (Italy) Appl. No. 9/581,606PCT Filed Dec. 11, 1998, PCT No. PCT/IT98/00360§ 371(c)(1), (2), (4) Date Jun. 14, 2000, PCT Pub. No. WO99/30667, PCT Pub. Date Jun. 24, 1999. Claims priority of application No. FI97A0274 (IT), filed on Dec. 15, 1997. Int. Cl.7A47K 3/022 U.S. Cl. 48212;541.1 16 Claims 1. A bathtub, comprising; a container, a rest surface defining a seat for the user and with a back support surface intended to provide a rest for the back, said rest surface having a substantially wavy profile defining a plurality of cavities with each wave defining a cavity; a liquid intake with a plurality of nozzles, each nozzle being disposed at a location of one of Said cavities, said nozzles at said back support surface being disposed forming two rows with am extent from an upper location downwards providing a row of nozzles at each of two sides with respect to a users spinal column resting on said back support surface, a spacing between said two rows of nozzles being greater in a region of said back support corresponding to the shoulders of a user and being closer to each other at a cavity at the level of the loins of the user; a liquid discharge; a support means adjustable at least in height for the head of said user, the support means including a e annular element to extend at least partially around the neck of the user so as to sustain the head of the user and to substantially keep the spinal column in a stretched attitude.

© GreatePatent.com 2025